Colonne de douche avec mitigeur mécanique
Réf. 2739KIT
Ensemble de douche avec mitigeur Securitouch à intérieur lisse
Ensemble de douche avec mitigeur Securitouch à intérieur lisse
DESCRIPTION
Colonne de douche avec mitigeur mécanique
Réf. 2739KITColonne de douche avec mitigeur mécanique monocommande.
Ensemble de douche mural avec mitigeur de douche.
• Mitigeur mural monocommande avec isolation thermique antibrûlure Securitouch.
Cartouche céramique Ø 40 classique avec butée de température maximale préréglée.
Corps à intérieur lisse et à faible contenance d’eau.
Débit régulé à 9 l/min.
Corps en laiton chromé et commande par manette ajourée.
Sortie de douche M1/2" avec clapet antiretour intégré.
Mitigeur avec raccords muraux excentrés STOP/CHECK M1/2" M3/4".
• Pommeau de douche coulissant (réf. 813) sur rampe chromée (réf. 821) avec porte-savon et flexible (réf. 836T1).
• Collier antichute de pommeau de douche (réf. 830).
Mitigeur de douche conforme aux exigences de la NF Médical.
Colonne de douche particulièrement adaptée pour les établissements de santé, EHPAD, hôpitaux et cliniques.
Mitigeur mécanique adapté aux personnes à mobilité réduite (PMR).
Mitigeur garanti 30 ans.
Ensemble de douche mural avec mitigeur de douche.
• Mitigeur mural monocommande avec isolation thermique antibrûlure Securitouch.
Cartouche céramique Ø 40 classique avec butée de température maximale préréglée.
Corps à intérieur lisse et à faible contenance d’eau.
Débit régulé à 9 l/min.
Corps en laiton chromé et commande par manette ajourée.
Sortie de douche M1/2" avec clapet antiretour intégré.
Mitigeur avec raccords muraux excentrés STOP/CHECK M1/2" M3/4".
• Pommeau de douche coulissant (réf. 813) sur rampe chromée (réf. 821) avec porte-savon et flexible (réf. 836T1).
• Collier antichute de pommeau de douche (réf. 830).
Mitigeur de douche conforme aux exigences de la NF Médical.
Colonne de douche particulièrement adaptée pour les établissements de santé, EHPAD, hôpitaux et cliniques.
Mitigeur mécanique adapté aux personnes à mobilité réduite (PMR).
Mitigeur garanti 30 ans.
Prix public indicatif HT France 2026 : 355,40 €
AVANTAGES

Hygiène : intérieur lisse limitant les bactéries

Securitouch : isolation thermique antibrûlure

Hygiène maximale : faible contenance d'eau

Ergonomie : manette ajourée pour préhension aisée
CARACTÉRISTIQUES TECHNIQUES
Colonne de douche avec mitigeur mécanique
Réf. 2739KIT| Raccordement | M1/2" |
| Technologie | Mitigeur de douche Securitouch |
| Profondeur | 173 mm |
| Largeur | 182 mm |
| Débit | 9 l/min |
| Butée de temperature | OUI |
| Finition | Laiton chromé |
| Normes et certifications |
|
| Garantie | |
| Réparabilité | ![]() |
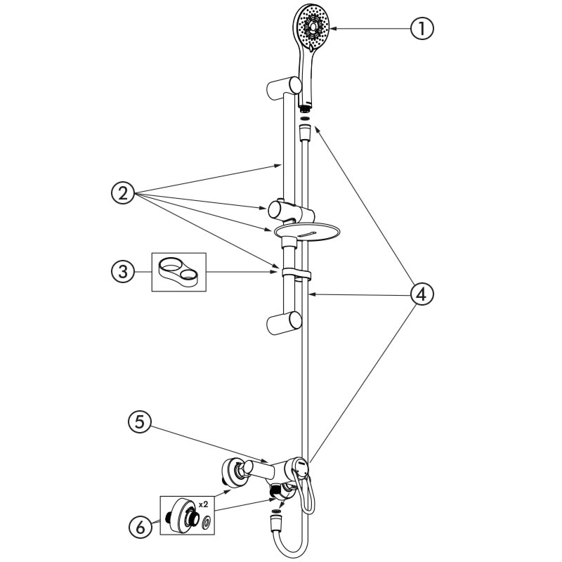
Pièces détachées
PIÈCES DÉTACHÉES
Colonne de douche avec mitigeur mécanique
Réf. 2739KIT
| 1. | 813 |
|
Pommeau de douche anticalcaire 5 jets |
| 2. | 821 |
|
Barre de douche chromée |
| 3. | 830 |
|
Collier antichute de douchette |
| 4. | 836T1 |
|
Flexible de douche SILVER |
| 5. | 2739 |
|
Mitigeur de douche mécanique Securitouch |
| 6. | 855755.2P |
|
Raccord décalé |
VARIANTES
| 2739EPKIT | Mitigeur avec cartouche EP - Manette ajourée - Raccords STOP/CHECK | 413,88 € HT | |
|---|---|---|---|
| 2739EPSKIT | Mitigeur avec cartouche EP - Manette ajourée - Raccords standards | 376,68 € HT | |
| 2739SKIT | Mitigeur à cartouche classique - Manette ajourée - Raccords standards | 318,29 € HT |
VARIANTES
| 2739EPKIT | Mitigeur avec cartouche EP - Manette ajourée - Raccords STOP/CHECK | 413,88 € HT | |
|---|---|---|---|
| 2739EPSKIT | Mitigeur avec cartouche EP - Manette ajourée - Raccords standards | 376,68 € HT | |
| 2739SKIT | Mitigeur à cartouche classique - Manette ajourée - Raccords standards | 318,29 € HT |
